发布日期:2025-05-19 06:48 点击次数:213

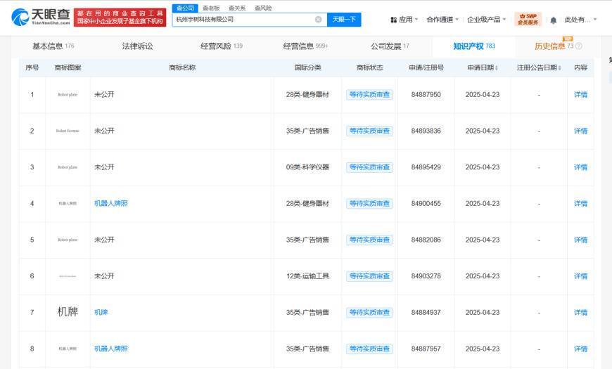
天眼查财产踪影信息清晰,近日,杭州宇树科技有限公司苦求注册“机器东说念主派司”“机牌”“Robot license”“Robot plate”等商标,海外分类为科学仪器、运输器具、告白销售等,现时商标情状均为恭候试验审查。
杭州宇树科技有限公司开拓于2016年8月,法定代表东说念主为王兴兴,注册成本约259.42万东说念主民币,由王兴兴、汉海信息期间(上海)有限公司、宁波红杉科盛股权投资合股企业(有限合股)等共同抓股。


美洲杯现金买球投注手机版
Powered by 美洲杯现金买球投注(官网)欢迎您 @2013-2022 RSS地图 HTML地图